Veggmontert lynoppfanger V4A Alu 4m HVC-dirigent
ELIT LOFV4M-V4A-HVC-DIR- Varenummer:
- 40150238
- EAN:
- 7070810040544
- Veggmontert lynoppfanger 4m i rustfritt A4-stål og aluminium for intern føring av HVC-leder
-
- Veggmontert lynoppfanger i korrosjonsbestandig A4-stål
- Totallengde på 4,0 meter
- Monteres på veggen med 2 x Type A veggfester
- Produsert ihht. DIN EN 62561-2 og DIN IEC/TS 62561-8
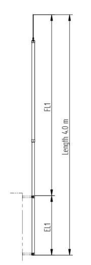
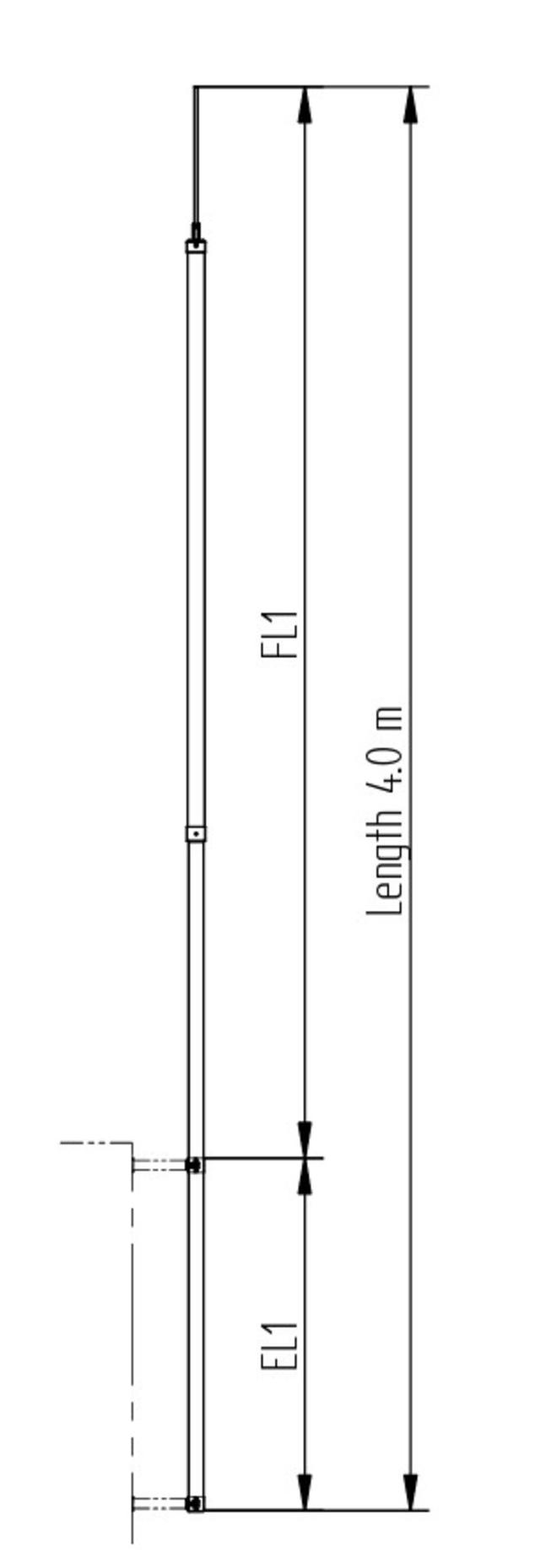
Veggmontert lynoppfanger med lengde 4,0 m for intern føring av HVC-leder.
Type: 1 del, totallengde 4,0 m
Oppfanger/mast: rustfritt A4-stål, Ø 42 mm, 1,9 m lengde
Isolert del: glassfiberforsterket plast (GFK), Ø 48 mm, 1,7 m lengde.
Oppfangerspiss: aluminium, Ø 10 mm, 400 mm lengde.
Nødvendig veggfeste: [2x] Type A
Ustøttet lengde FL1: 3,0 m
Klemmelengde EL1: 1,0 m
Maks. vindhastighet:
Sikkerhetsfaktor for vind 1,0: 149 km/t /
Sikkerhetsfaktor for vind 1,5: 122 km/t
Produsert ihht. DIN EN 62561-2 og DIN IEC/TS 62561-8.