Veggmontert lynoppfanger 9m V4A TypeC
ELIT LOF-VEGG-9M-V4A-TYPC- Varenummer:
- 40150250
- EAN:
- 7070810040957
- 9,0m veggmontert 3-delt lynoppfanger i syrefast A4-stål
-
- Veggmontert 3-delt lynoppfanger i syrefast A4-stål
- Flerkomponentsystem som kan plugges på hverandre med skrufeste
- Festes på vegg med 3 x Type C veggfester
Lynoppfanger med påsveiset tilkoblingsrør (sklisikring) inkl. KS-kobling produsert i henhold til DIN EN 62561-2 for veggmontering.
3-delt flerkomponentsystem som kan plugges på hverandre med skrufeste.
Materiale: syrefast A4-stål
Diameter på oppfanger: Ø 60/42/36/20 mm
Materiale for oppfangerspiss: syrefast A4-stål
Diameter for oppfangerspiss: Ø 16/10 mm
Materiale for KS-kobling: syrefast stål
Nedlederdiameter for KS-kobling: Ø 8-10 mm
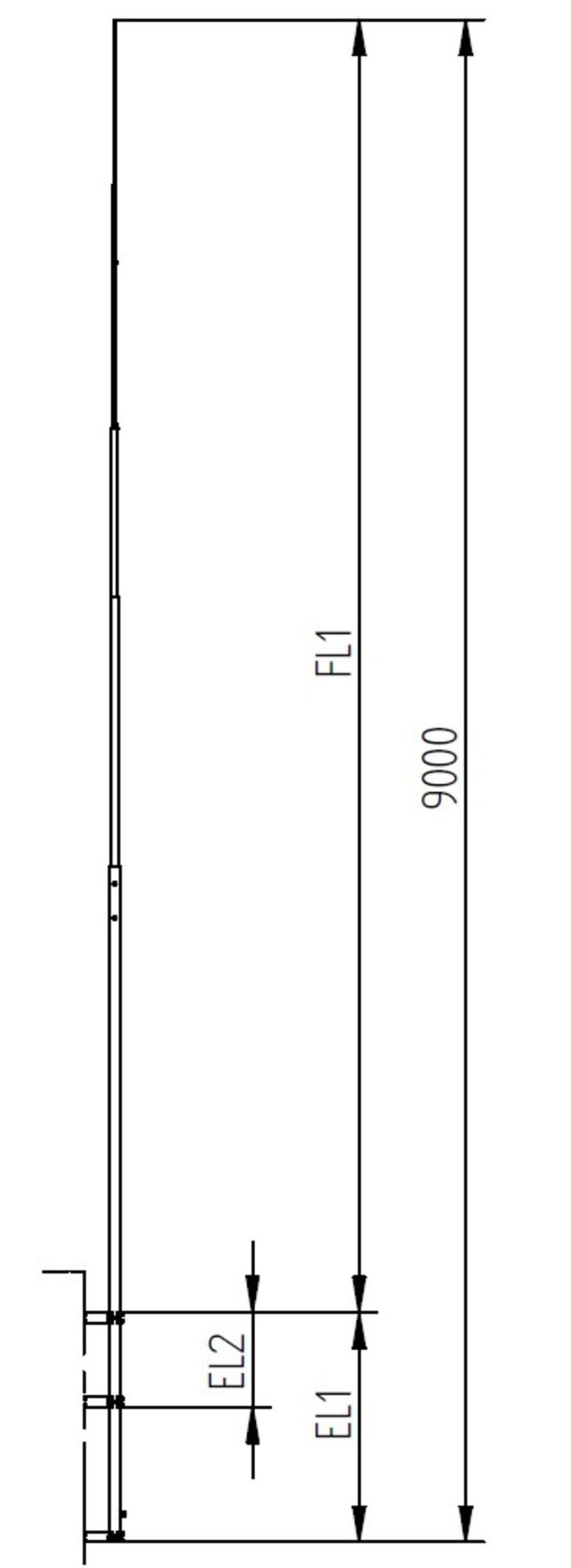
Lengde på deler: 4000 mm/2500 mm/2500 mm
Nødvendig veggfeste: 3 x type C
Ustøttet lengde FL1: 7,7 m
Klemmelengde EL1: 1,3 m
Klemmelengde EL2: 0,5 m
Maks. vindhastighet:
Sikkerhetsfaktor for vind 1,0: 200 km/t /
Sikkerhetsfaktor for vind 1,5: 163 km/t
Vekt: 30,6 kg