Frittstående lynoppfanger sett 5m eks. inst.
ELIT FLOPSETT5MEKSHVC- Varenummer:
- 40150195
- EAN:
- 7070810035304
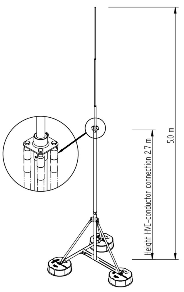
- Frittstående lynoppfanger-sett 5,0m m/HVC-flens, stativ og betongfundamenter
-
- Frittstående lynoppfangersett m/stativ og fundament
- Spesialdesignet for opp til 4 x HVC-leder
- Produsert ihh. til EN 62561-2, IEC/TS 62561-8
Frittstående lynoppfangersett for opp til 4 x HVC-leder med stativ og betongfundamenter.
Materiale og dimensjon for stativ: rustfritt A2-stål, Ø 42 mm, 0,9 m lengde.
Materiale og dimensjon for isolerende støtte: Glassfiberforsterket plast, Ø 48 mm, 1,7 m lengde.
Materiale og dimensjon for oppfangerspiss: Aluminium, Ø 32/22/10 mm, lengde 2,3 m.
Vindhastighet med en statisk sikkerhetsfaktor på 1,0: 137 km/t
Vindhastighet med en statisk sikkerhetsfaktor på 1,5: 112 km/t